eMagin推出7500nits高亮度Micro OLED显示器,Q2营收一路走高

CINNO CINNO 昨天





使用直接图案化技术推出高亮度微型OLED显示器



CINNO Research产业资讯,自从前些年进入大众市场,VR / AR一直受到市场的关注,但是其发展并未像Facebook,AppleGoogle领导人所期望的那样,相反几乎所有的市场研究人员对其预测都是逐年降低的。2019年,头戴式VR/AR设备的出货量为690万部,比IDC的最新预测下降了9.2%,比之前的乐观预测下降了50%以上。不过市场乐观情绪依然存在,该领域的主要公司和一系列初创公司依然以数十亿美元的资金对该技术进行投资。
 
根据外媒Display Daily报道,尽管之前预测不甚准确,但是IDC还是预测,市场到2022年将有5200万台头戴式设备的出货量,三年复合增长率为96%。这一数据的准确与否关键在于消费和商业计算的新范例。如果我们相信Cook,Zucherberg和Pichai这一类人,那么当前的智能手机和电视最终会被更符合人体工程学的智能眼镜设备所取代,这些设备可以让数字世界和模拟世界和谐共存。

图1. IDC关于消费和商用头戴式AR / VR设备的预测(来源:IDC)
 
当然,这些技术还没有完全成熟。虽然标准高像素密度的微型OLED显示器已经可以满足VR需求,但是这些显示器的PPI和亮度还不能满足AR设备设计需求,因为AR设备一般工作在高亮环境下,这需要高亮显示器以提升AR的对比度。考虑到微型OLED显示器的高PPI属性,研究人员之前就尝试使用过这种技术,不过这种基于白色光与彩色滤光片的方案严重限制了亮度的提升。紧接着,市场又开始炒作Micro-LED微型显示器并将它看作未来的解决方案,不过至少截至目前,这种方案的成本和技术问题目前还很难克服,所以市场上还没有看到任何基于Micro-LED显示器的AR/VR头戴式设备的推出。
 
作为一家微型OLED显示器领先制造商,eMagin希望通过解决微型OLED显示器亮度和像素密度问题来稀释市场对Micro-LED的热度。他们最近推出了一款采用RGB条状像素布局的微型OLED显示器,该显示器不使用彩色滤光片,亮度约为7,500 cd / m2,这一亮度是A R设备显示器的起点。这款0.9英寸微型显示器的分辨率为1920 x 1200,PPI大于2600。eMagin这款微型OLED产品的发射层使用了一种直接图案化(dPd,Direct Patterning)技术。这和以前的工艺设计不一样,以前采用的是白光加红绿蓝彩色滤光片的方案。Kopin最近就宣布推出了一种高亮度微型OLED显示器,但他们使用了双OLED叠层的结构(Duo-stack)。具体来说就是使用两层由红色,绿色和蓝色发光层堆叠的发光层,之后再加上一层彩色滤光片实现了1000尼特的亮度。
 
eMagin使用的绿色和红色发光材料都是磷光材料,而蓝色发光材料是荧光材料。他们能够在像素间距只有9.6µm的8英寸晶圆上制作出这种分辨率达1920 x 1200的微型OLED显示器。在相同的电流密度下,这些微型OLED显示器的亮度提高了6倍,在相同电压下,亮度提高了20倍。eMagin的首席执行官安德鲁·斯库利(Andrew Sculley)表示,他们的下一个目标是制作亮度大于 10,000 cd / m2的全彩微型OLED显示器,长期看这一亮度数值可能会超过25,000 cd / m2。安德鲁(Andrew)在报告中透露,已经有两家大型知名OEM与eMagin签约以开发这种原型VR设备

在2018年OLED峰会上的演讲中,安德鲁比较了这两种设备的结构:
 
图2. eMagin的OLED装置结构示意图(来源:Andrew Sculley)

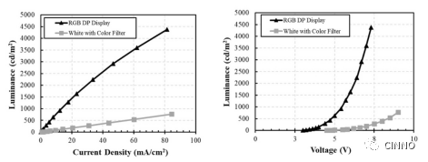
更重要的是,eMagin使用的直接图案化方法带来了极大的性能提升,如下图中的电流密度和电压与亮度的关系显示出了5到10倍的改善。
 
图3. 直接图案化与传统WOLED显示器的亮度性能关系(来源:Andrew Sculley)
 
在安德鲁(Andrew)2018年的演讲报告中,他还提到了亮度和阵列电流之间的线性关系。
 

图4. 2K x 2K直接图案化微型OLED显示器亮度与阵列电流的关系(来源:USPTO)
 
eMagin的专利表明,他们正在使用模版光刻技术(Stencil Lithography),这种技术将高分辨率SiNx掩模放在基板上,然后使用真空沉积技术通过该掩模沉积OLED材料。这种荫罩(Shadow Mask)具有纳米尺度的特征,其精确度和准确度都可以匹配微型OLED显示器底层的驱动晶体管。根据该专利内容,他们还会使用CVD设备将SiNx沉积在晶片的两侧。
 
SiNx层可以在一侧上用作蚀刻阻挡层,在另一侧上用作自支撑膜。薄膜的一侧被图案化,进而在蚀刻后露出衬底,之后还会有其他的蚀刻工艺。薄膜的另一侧会重新图案化并进行蚀刻,最终形成所需的荫罩图案。从背面贯穿基板的蚀刻过程最终让该薄膜悬挂,进而刚好可以用作荫罩。在该专利申请内容中,他们评论说,这种技术能够在下面的基板上进行接近1:1的转印:荫罩图案特征尺寸6µm,转印后的图案尺寸为5.9µm。
 
图5. eMagin用于微型OLED显示器制作的直接图案化工艺流程图(来源:eMagin专利申请2015/0041793 A1)
 
这种荫罩的厚度范围为50Å至2μm,这一尺寸主要是考虑膜厚与孔径几何尺寸之间的深宽比(Aspect Ratio)。不适合的深宽比会让沉积材料积聚在荫罩的侧壁上,这样会进一步造成孔径尺寸的畸变。除此之外还有一些其他方面的考虑,比如基板的各向异性刻蚀效果,实际上,设计人员在一定精度的基础上进一步提升精度时就需要考虑开孔侧壁的倾斜情况。eMagin通过刻蚀工艺制作了315μm厚的晶片基板,之后又进一步增加了额外446um厚度构建成最终的荫罩结构。
 
这种新工艺的名称为dPd(Direct Patterning),有别于传统的彩色滤光片方案。他们在eMagin的2020年第一季度的收益报告中说:“直接图案化设备已经升级,并完成安装。我们正在对该设备进行验证。尽管冠状病毒造成了供应延迟,但整体进展还是非常顺利的。我们预计将在第二季度制造全彩显示器。”随着0.9英寸微型OLED显示器的发布,eMagin将最终兑现他们的承诺。

图6a. 微型OLED显示器的制造工艺(来源:Omdia)
 
图6b. 微型OLED显示器的制造工艺(来源:Omdia)
 
图7. 微型OLED显示器堆叠结构的优化改善示意(来源:Omdia)

eMagin公布Q2财报预告





CINNO Research产业资讯, eMagin公司(纽约证券交易所股票代码:EMAN)是研发、设计和制造军事和商业AR / VR设备用有源矩阵微型OLED显示器的领导厂商。该公司于7月21日布了2020年第二季度收入的初步评估,以及截至2020年6月30日的未交货订单情况。

根据eMagin官网显示,据估计,该公司2020年第二季度的收入在740万美元至770万美元之间,相对于2019年第二季度的540万美元收入增长38%至44%,相对于2020年第一季度的670万美元收入增长10%至15%。初步收入预增反映了公司军事方面需求的增长和商业计划带来的收入增加。
 
另外,截至2020年6月30日,公司未交付订单价值1,480万美元,其中的1,360万美元订单会在12个月内交付。公司目前拥有现金530万美元,循环信用贷款余额40万美元,其中现金余额包括196万美元薪水保护项目的贷款收益。相比之下,截至2020年3月31日的现金余额仅310万美元现金,而相应的循环信用贷款余额达到220万美元。

“正如我们的预期,我们的销售额在2020年第二季度有所增长,这反映了第一季度军事和商业业务的强劲需求在收入方面的贡献,”总裁兼首席执行官安德鲁·斯库利(Andrew Sculley)表示:“本季度我们的军事业务需求依然很强劲,这体现了大项目带来的效果,这些项目推动我们的积压订单持续上升,且会持续2020年一整年。我们期待在8月份的二季度业绩电话会议上分享更多细节。”
 
关于eMagin公司
 
eMagin公司是微型OLED显示技术的领导者,他们的产品用于下一代计算和成像设备,目前主要为军事、消费、医疗和工业市场的世界级客户提供服务。eMagin公司位于美国,发明、设计和制造出了许多属于未来的显示技术,这其中就包括他们的直接图案技术(dPd,Direct Patterning Technology),它将改变世界消费信息的方式。自2001年以来,他们的微型OLED显示器已经并将继续用于AR / VR飞机头盔,平视显示系统,热成像仪,夜视镜,未来武器系统和各种其他应用。

- END -


更多商务合作,欢迎与小编联络!

扫码请备注:姓名+公司+职位

我是CINNO最强小编, 恭候您多时啦!


推荐阅读

点击文字即可阅读全文