电路板上这些标志的含义,你都知道吗?

图片

在很多电路板或者电子产品上我们经常会看到下面这些标志,你都知道是什么含义吗?


图片
Atmel开发板上的FCC标志、CE标志、手型标志、垃圾桶标志


图片
NXP开发板上的RoHS标志、RU标志


图片
NXP开发板上的手型标志、垃圾桶标志、Pb标志


图片
Arduino开发板上的CE标志、FCC标志


图片
东芝开发板上的RU标志


图片
闪迪U盘上的垃圾桶标志、KC标志、FCC标志、CE标志


图片
安信可ESP32 WiFi+蓝牙模块上的WiFi蓝牙标志、FCC标准、CE标志

这些标志你都知道是什么意思吗?

一、标志

1、防静电标志


图片


防静电标志(标识)是防静电控制体系中不可缺少的一环,这些标志(标识)鲜明又形象地指示出与静电有关的产品、区域或包装等,提示工作人员时刻不忘静电的危害性,做好防范工作。可粘贴在车间所用的器材、产品的外包装、设备外壳或需防静电的场所中。

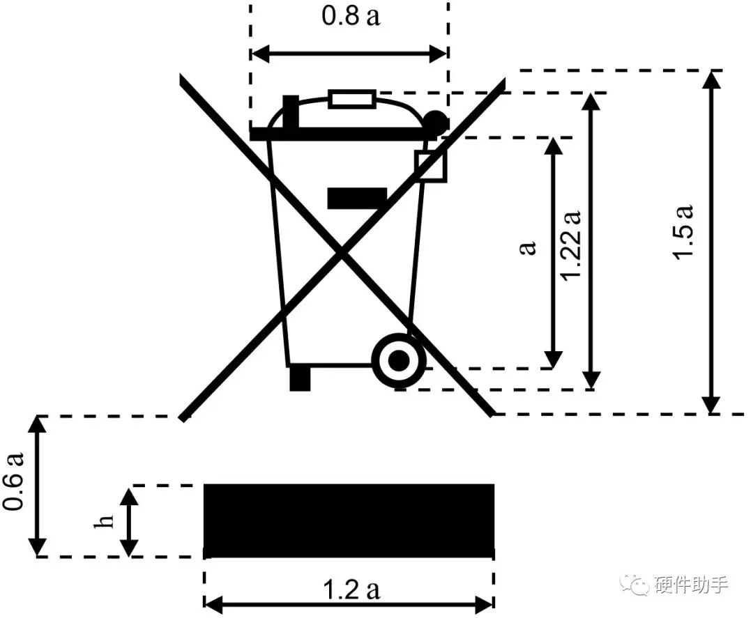
2、WEEE标志


图片


垃圾桶符号,在欧盟,这个符号表示当最终用户打算丢弃此产品时必须将该产品送到适当的设施,以进行回收和循环再利用。

二、国内认证


图片


图片


1、CCC认证:China Compulsory Certification,中国强制性产品认证。

3C标志并不是质量标志,而是最基础的安全认证,是为了保护消费者人身安全和国家安全的一种认证。国家安全认证(CCEE)、进口安全质量许可制度(CCIB)、中国电磁兼容认证(EMC)三合一的“CCC”权威认证,是中国质检总局和国家认监委与国际接轨的一个先进标志,有着不可替代的重要性。当前,中国公布的首批必须通过强制性认证的产品共有十九大类一百三十二种。主要包括电线电缆、低压电器、信息技术设备、安全玻璃、消防产品、机动车辆轮胎、乳胶制品等。

2、CQC认证:中国质量认证中心, 中国质量认证中心开展的自愿性产品认证业务。

我国从2002年5月1日起实行国家强制认证制度(CCC认证),对于列入CCC目录的产品实行强制性产品认证,对于未列入目录的产品若需要认证,可采用自愿性产品认证的方式,即CQC认证。CQC认证有两个涵义,一是发证机构是CQC(中国质量认证中心)(需要说明的是大部分3C证书也是CQC发证的);二是区别于CCC强制性认证,属自愿性认证,也就是说国家法律法规层面没有强制要求办理,是企业自愿进行的认证行为。

3、SRRC认证:国家无线电管理委员会强制认证


图片


SRRC是国家无线电管理委员会强制认证要求,自 1999 年 6 月 1 日起,中国信息产业部 (Ministry of Information Industry, MII) 强制规定,所有在中国境内销售及使用的无线电组件产品,必须取得无线电型号的核准认证 (Radio Type Approval Certification)。

三、全球认证

1、CB认证:国际电工CB认证


图片


该体系是国际电工委员会电工设备及零部件合格评定体系组织(IECEE)设立的一个电工产品测试结果的相互认可平台,同时也是成员国及认证组织之间的多边协议,企业可利用一个认证机构颁发的CB测试证书和报告获得其他CB成员国的国家认证.。至今,已有50多个国家加入了CB体系(如表),这些国家多是中国的主要贸易伙伴。

四、北美认证

1、UL认证:UL是美国保险商试验所(Underwriter Laboratories Inc.)的简写,是制造厂商最值得信赖的合格评估提供者之一


图片


UL安全试验所是美国最有权威的,也是世界上从事安全试验和鉴定的较大的民间机构。UL主要从事产品的安全认证和经营安全证明业务,其最终目的是为市场得到具有相当安全水准的商品,为人身健康和财产安全得到保证作出贡献。就产品安全认证作为消除国际贸易技术壁垒的有效手段而言,UL为促进国际贸易的发展也发挥着积极的作用。在美国,对消费者来说,UL 就是安全标志的象征,UL是制造厂商最值得信赖的合格评估提供者之一 。


图片
UL认证的标志是RU符号,电路板上很常见的符号

文章开头东芝和NXP的开发板上都有一串字母是“*RU94V-0 HF PbF *”,这又是什么意思呢?


图片

其实这是RU/UL认证中的一种阻燃等级,阻燃等级由HB,V-2,V-1向V-0逐级递增:

  • HB:

    UL94标准中最低的阻燃等级。

  • V-2:

    对样品进行两次10秒的燃烧测试后,火焰在30秒内熄灭。

    可以引燃30cm下方的药棉。

  • V-1:

    对样品进行两次10秒的燃烧测试后,火焰在30秒内熄灭。

    不能引燃30cm下方的药棉。

  • V-0:

    对样品进行两次10秒的燃烧测试后,火焰在10秒内熄灭。

    不能有燃烧物掉下。






HF:表示产品中不含有卤素,具体的就是产品中氯含量<900ppm,溴含量<900ppm,氯+溴含量不大于1500ppm。PbF:表示产品中无铅,即铅的含量在1000ppm以下。

2、ETL认证:ETL认证是产品出口美国及加拿大所需的认证。


图片


ETL认证是产品出口美国及加拿大所需的认证。ETL标志表示产品已经通过美国NRTL及或加拿大SCC的认可测试。Intertek是被OSHA及SCC认可的少数发证机构。ETL标志认可与UL或CSA标志具有等同的效力,并符合有关的安全标准。

3、FCC认证:美国联邦通讯委员(Federal Communication.FCC)是美国政府授权管理无线电、通讯及数字设备的机构。


图片


美国联邦通讯委员(Federal Communication.FCC)是美国政府授权管理无线电、通讯及数字设备的机构;管理进口和使用无线电频率装置,包括电脑、传真机、电子装置、无线电接收和传输设备、无线电遥控玩具、电话、个人电脑以及其他可能伤害人身安全的产品;通过控制无线电广播、电视、电信、卫星和电缆来协调国内和国际的语言,对这方面的设备实施管制。

4、IC认证:IC是Industry Canada的英文缩写,是加拿大工业部的缩写,是加拿大工业部规定的模拟和数字终端设备的检测标准

IC认证的标准与FCC基本一致,IC目前只在电磁干扰上做限制。加拿大工业部负责电子电器产品进入加拿大市场的认证事务, 规定进口电子产品必须通过的有关EMC的认证。其负责产品大致为广播电视设备、信息技术设备、无线电设备、电信设备、工科医设备等,与美国FCC相 似,IC目前只有在电磁干扰上做限制。

五、欧盟认证

1、CE认证:CE认证制度是欧盟电器产品的准入制度,是强制性法律条文的要求。


图片


CE认证是欧盟国家实行的强制性产品安全认证制度,目的是为了保障欧盟国家人民的生命财产安全,所以一般针对的都是老百姓日常接触的到的具有一定危险性的产品,比如大部分带电的产品都有触电危险,所以都要做CE认证。这也是国际通行的做法,比如我国也有自己的强制性产品认证制度CCC认证,日本有PSE认证,澳洲有SAA认证,都是为了保障本国人民的生命财产安全。需要特别注意的是,中国厂家要进入欧盟市场,CE认证是属于强制性认证要求,不论是欧盟内部企业生产的产品,还是其他国家生产的产品,要想在欧盟市场上自由流通,就必须完成CE认证,加贴CE标志,以表明产品符合欧盟《技术协调与标准化新方法》指令的基本要求。否则属于违法行为,轻则清不了关,重则会被查处召回或罚款。

CE标志适用于所有欧盟国家,CE标志涉及欧洲市场80%的工业和消费品,70%的欧盟进口产品。根据欧盟法律,CE认证属于强制性认证,所以如果产品没有经过CE认证,而贸然出口到欧盟,将被认为是违法行为。以法国为例,有可能面临的后果是:

  • 产品过不了海关;

  • 被扣留、罚没;

  • 面临五干英镑的罚款;

  • 撤出市场及回收所有在用产品;

  • 追究刑事责任;

  • 通报欧盟








2、RoHS认证:RoHS是由欧盟立法制定的一项强制性标准。


图片


它的全称是《关于限制在电子电气设备中使用某些有害成分的指令》(Restriction of Hazardous Substances)。该标准已于2006年7月1日开始正式实施,主要用于规范电子电气产品的材料及工艺标准,使之更加有利于人体健康及环境保护。该标准的目的在于消除电器电子产品中的铅、汞、镉、六价铬、多溴联苯和多溴二苯醚(注意:PBDE正确的中文名称是指多溴二苯醚,多溴联苯醚是错误的说法)共6项物质,并重点规定了镉的含量不能超过0.01%。该指令于2003年2月13日正式发布,被限制的有害物质包括:铅(Pb),镉(Cd),汞(Hg),六价铬(Cr6+),多溴联苯(PBBs)和多溴二苯醚(PBDEs)六项有害物质,2015年又新增了4项邻苯二甲酸脂物质,被限制的有害物质增至十项,也称为RoHS2.0。

RoHS 2.0 十项有害物质限制要求:


图片


除此之外,需要注意的是RoHS2.0指令已纳入CE认证范围,所以现在做RoHS2.0需按照CE符合性评估程序进行相关评估,出具CE-RoHS证书或自我申明,在产品本身或外包装上加贴CE认证标志。

3、TÜV认证:TÜV(Technischer Überwachungs Verein)是德语“技术监督协会”的缩写。


图片


在德国,TUV是政府指定的官方认证机构,具有130多年的历史,是世界上应用范围最广的第三方认证之一,为电气、电子和机器产品等产品提供质量和安全保证。

4、E-Mark认证:E-mark是根据欧洲经济委员会法规【 ECE Regulation 】在日内瓦签署和颁布的ECE法规实施的一种对汽车部件的批准制度。


图片


欧洲经济委员会是联合国的一个分支机构,成员国为欧洲国家,也包括一些非欧洲国家,如日本。e-mark是依照欧盟指令2009/19/EC,针对的是欧洲共同体市场的。但从会员国接受程度来说,E-mark是非强制的,可自由选择,而e-mark对成员国是强制的,必须接受。

六、韩国认证

1、KC认证:KC Mark Certification Products List(KC认证产品目录) 根据《韩国电气用品安全管理法》规定,自2009年1月1日起电气用品安全认证分为强制性认证及自律(自愿)性认证两种。


图片


与以上认证类型不同,KC认证是对制造商即工厂进行的认证,企业如果需要申请KC标志,首先必须向韩国电气电子检测研究院(Korea Electrical Testing Institute,KETI)或韩国产业技术检测院(Korea Testing Laboratory,KTL)提出申请。若一种产品由几个独立的工厂生产时,尽管产品是同一型号,几个工厂都应同时取得认证标志。海外生产厂家可以直接申请或者授权韩国当地的代理机构和代表厂家申请。

七、日本认证

1、PSE认证:PSE是由2001年开始实施的“电器设备和材料安全法”的要求,针对大多数的家用或者商用电气设备。


图片


PSE认证是日本电气用品的强制性市场准入制度(在日本称之为“适合性检查"),是日本《电气用品安全法》中规定的一项重要内容。PSE是英文"Product Safety of Electrical Appliance&Materials"的简称。目前,日本政府根据日本《电气用品安全法》中规定,将电气用品分为“特定电气用品”和“非特定电气用品”,其中“特定电器用品”包括115种产品;“非特定电气用品”包括339种产品。PSE包括EMC和安全两部分的要求。凡属于“特定电气用品”目录内的产品,进入日本市场,必须通过日本经济产业省授权的第三方认证机构认证,取得认证合格证书,并在标签上有菱形的PSE标志。

2、VCCI认证:VCCI 是日本的电磁兼容认证标志。


图片


由民间组织日本电磁干扰控制委员会 (Voluntary Control Council for Interference by Information Technology Equipment,VCCI) 管理。VCCI认证针对额定电压不超过600伏的信息技术设备(Information Technology Equipment,ITE),即主要功能是对数据和信息进行录入、存储、显示、检索、传递、处理、交换或者控制(或几种功能的组合)的设备。目前VCCI采用的标准完全等同于国际标准CISPR 22。CISPR 22标准的电磁发射限值分A级和B级,产品应符合A级或B级要求并加贴相应的VCCI标志。VCCI 认证是非强制性的,但是在日本销售的信息技术产品,一般会被要求进行 VCCI 认证。

3、TELEC认证:TELEC是日本针对无线产品的强制性认证,有些类似于国内的SRRC。


图片


日本的TELEC认证包括了两种认证,即测试认证和型式认证,测试认证是针对每一个设备单元进行验证的,该认证只对每一个经过了验证的设备单元有效,而型式认证是指对同样设计和制造的一批设备的样品进行验证,该认证对该批设备都有效,但如果设备的设计或制造发生了改变 ,设备将需要重新认证。

八、澳大利亚认证

1、SAA认证:SAA也是进入澳大利亚市场的电器产品须符合的当地安全法规,即业界经常面对的认证。


图片


澳大利亚的标准机构为澳大利亚标准协会SAA, 后来又改名为澳大利亚标准有限公司。由于澳大利亚和新西兰两国的互认协议,所有取得澳大利亚认证的产品均可顺利地进入新西兰市场销售。所有电器产品均要做安全认证( SAA )。SAA Approvals Pty Ltd是澳大利亚和新西兰联合认证系统 (JAS-ANZ)认可的发证机构,可为声明的和非声明的已符合澳大利亚电气设备标准安全要求的电器设备发行批准证书。

九、蓝牙和WiFi认证

如果您的产品具有蓝牙功能并且在产品外观上标明蓝牙标志,必须通过一个叫做BQB(Bluetooth Qualification Body)的认证。蓝牙认证是很重要。只有通过蓝牙SIG组织认证的产品才是真正的蓝牙产品,才能保证产品的兼容性和相关性能是符合蓝牙标准的,才能合法使用蓝牙或BLUETOOTH的LOGO以及相关蓝牙技术规范。


图片


Wi-Fi认证针对的是基于IEEE 802.11b标准的无线局域网产品,Wi-Fi证书是由一个非营利的工业组织(WECA)颁布的。WECA是在1999年8月组建的,到目前为止会员已迅速增加到150多个,全球已有370个产品获得了Wi-Fi认证。WECA的核心工作是测试和认证。


图片
安信可ESP32 WiFi+蓝牙模块


图片


十、其他国家认证

1、印尼POSTEL认证 ( POSTEL of Indonesia):所有进口到印尼的通讯产品,必须通过印尼 邮政电信总局(DGPT)的型式认证以及海关检验。

2、马来西亚SIRIM认证 (SIRIM certification of Malaysia):马来西亚实行的产品认证体系分为强制认证和自愿认证两种。通信设备和《电气设备批准条例》中规定的31大类的电气产品须分别进行强制性的型式认证和安全认证,其他产品属于自愿认证范畴。

3、泰国NTC认证(NTC certification of Thailand):泰国国家通讯委员会 NTC (National Telecommunication Commission of Thailand) 针对电信设备,电信终端设备与无线产品,订出了明确的规范限制,要求通讯产品出口泰国时需通过NTC认证,并加贴NTC标签。

4、新加坡IDA认证(IDA certification of Singapore ):新加坡队电信产品的使用管理由新加坡资讯通信发展管理局(IDA)负责,其管理依据主要是根据由IDA制定的技术规范。这些技术规范规定了拟在新加坡出售和使用的电信设备的最低技术要求的标准。

5、新加坡CSP计划及安全标志 (CSP Scheme and safety mark in Singapore):CSP计划中管制的产品包括家用电器、音视频产品、家用电脑、固定照明电器、插头插座以及液化石油气系统部件等47种产品。CSP计划要求供应商在新加坡销售产品前,需到SPRING Singapore注册,成为“注册供应商”(Registered Suppliers);管制产品也需获得合格评定机构(CABs)的合格评定证书(COC)(3年有效期);注册供应商将COC提交给SPRING Singapore,注册已认证的管制产品;通过确认后,加贴安全标志,方可销售或宣传已注册的管制产品。

6、印度STQC认证(STQC certification of India):STQC安全认证体系(S标志)是一个针对电子产品的第三方认证体系,发证机构为印度标准化检测与质量认证中心(Standardization Testing and Quality Certification,STQC),隶属于印度信息技术部(Department of Information Technology,DIT)。该安全认证制度旨在通过评估、检测和后续监督等程序证明电子产品符合相关IEC安全标准的要求。目前STQC可接受厂商自愿申请认证,厂商可以根据需要自愿提出申请。

十一、认证申请

虽然板子上就这么一个简单的符号,它的背后可都是用时间和金钱砸出来的啊!那么如何取得这些认证呢?认证申请尤其是初次办理,建议还是找专业权威的认证机构办理,认证流程复杂(涉及申请、测试、验厂等环节),涉及到的办事单位多,文件要求多,综合所述,没有较高的专业知识和协调资源,是很难办的。认证机构尽量选择中国合格评定国家认可委员会、中国国家认证认可监督管理委员会等权威机构认可的机构或实验室。

下面是国内某认证机构提供的3C产品认证流程:


图片


从图中也可以看出,产品是在完成之后再送出去测试,如果不符合认证标准则需要拿回来重新修改开发,这样来来回回就会浪费很多时间,为了减少认证的时间,所以国内很多电器大厂都有自己的EMC实验室,当然这个实验室也是造价不菲,以国内的美的电器为例,今年新建成的EMC实验室,耗资4000万,占地1500平方米,虽然耗费了大量的财力,当然也会节省很多研发成本,官方表示建成不到一年,已经为美的节省了上亿元的研发成本。

十二、总结

怎么样?看完本篇文章,文章开头提到板子上的标志你知道是什么含义了吗?


图片



作者:wcc149

来源:电子电路开发学习


图片